当社の粒子分析装置の光源に関する発明「粒子分析装置(特許第6539023号)」(以下、「粒子分析装置」を「血球計数装置」と呼びます)が、公益社団法人発明協会の主催する令和3年度近畿地方発明表彰において「京都発明協会会長賞」を受賞しました。この発明により、血球計数装置で高精度な血球測定が可能になりました。
受賞内容
従来、血球計数装置では、光源にハロゲンランプを用いていました。しかし、ハロゲンランプは発熱量が大きく、光学系に影響を及ぼして測定性能を悪化させるほか、ハロゲンランプ自体が大きく、小型化に限界がありました。そこで、本発明では光源にLEDを採用し、熱影響の排除と小型化の実現をめざしました。
しかし、血球計数装置に通常のLEDを使用すると、LEDの光取り出し面に存在する電極が障害物となって流路内に影ができ、正確な測定結果が得られないという問題が発生する可能性がありました(図1)。具体的には、血球が流路内の影になっている部分を通った場合と影になっていない部分を通った場合によって、測定結果が異なることにより、測定結果を正確に得られないという可能性がありました(図2)。
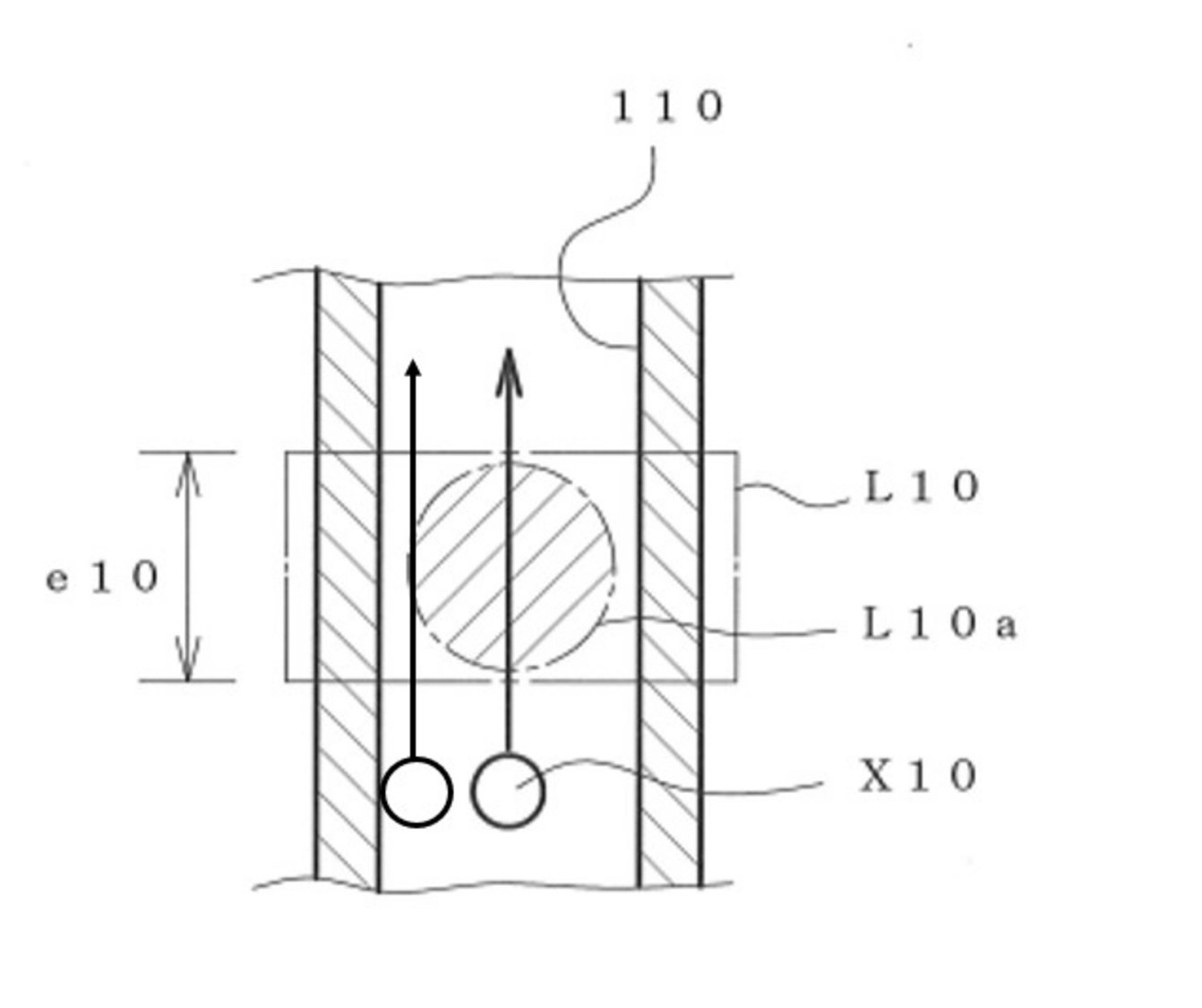
そこで本発明では、複数の電極が互いに平行に配置されたくし部分を有するLED電極を採用しました。LED電極のくし部分と、分析すべき粒子を含んだ試料液を流すための流路(フローセル流路と呼ぶ)の方向とが直角に交わる(図3、4)ことで、流路内の血球がどの部分を通っても影部分が同じ大きさになり、測定誤差を低減できるようになりました。

図2:血球計数装置に通常のLEDを使用した場合に、光がフローセル流路の照射区間に照射された様子

図3:本発明による血球計数装置の構成の実施例を模式的に示した断面図

図4:本発明におけるLED電極のくし部分とフローセルの流路との関係図
近畿地方発明表彰について
公益社団法人発明協会が主催する地方発明表彰は、各地方における発明の奨励および育成、科学技術の向上と地域産業の振興を目的として大正10年に始まりました。以来、優れた発明、考案又は意匠を生み出した技術者・研究開発者の功績を称え顕彰することにより、今日の科学技術の発展に寄与しています。
受賞概要
受賞者:株式会社堀場製作所 濱田 基明、伊串 達夫
受賞技術名:粒子分析装置
登録番号:特許第6539023号
令和3年度近畿地方発明表彰 その他受賞一覧
◆発明奨励賞
受賞者:株式会社堀場製作所 深見 瞬、青木 伸太郎
株式会社堀場エステック 太田 敏雄
受賞技術名:排ガス分析装置
登録番号:特許第6472706号
◆発明奨励賞
受賞者:株式会社堀場エステック 林 繁之、桒原 朗
受賞技術名:流量測定機構、マスフローコントローラ及び圧力センサ
登録番号:特許第5697453号
◆発明奨励賞
受賞者:株式会社堀場アドバンスドテクノ 鈴木 理一郎
ホリバ・コリア社 久保田 隆幸
受賞技術名:導電率測定計及びその測定値補正方法
登録番号:特許第6423579号

